JA Decor

.

DIN 5157

Ručna ureznica za cevni navoj (ceo set – 2 komada)

cevni navojkroz rupuslepa rupaugao navoja i nagib navojaStandardni brzorezni celik

  • 1,1 1,2 3,1 3,2 6

DIN 5157
Rm [N/mm2] ≤ 800
Oluk A
Tolerancija -
Prevlaka (premaz) -
index DIN 5157 0641-310-100-

 

→ DIN 5157
                
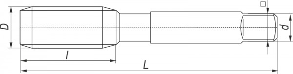
D P [Gg/1″] L Imax d   index
G 1/8 28 63 18 7 5.5 8.8 -005
G 1/4 19 70 20 11 9 11.8 -010
G 3/8 19 70 20 12 9 15.25 -015
G 1/2 14 80 22 16 12 19 -020
G 3/4 14 90 22 20 16 24.5 -030

 

      ! Po specijalnim porudžbinama ravimo alat i drugih dimenzija

 

 

Partneri